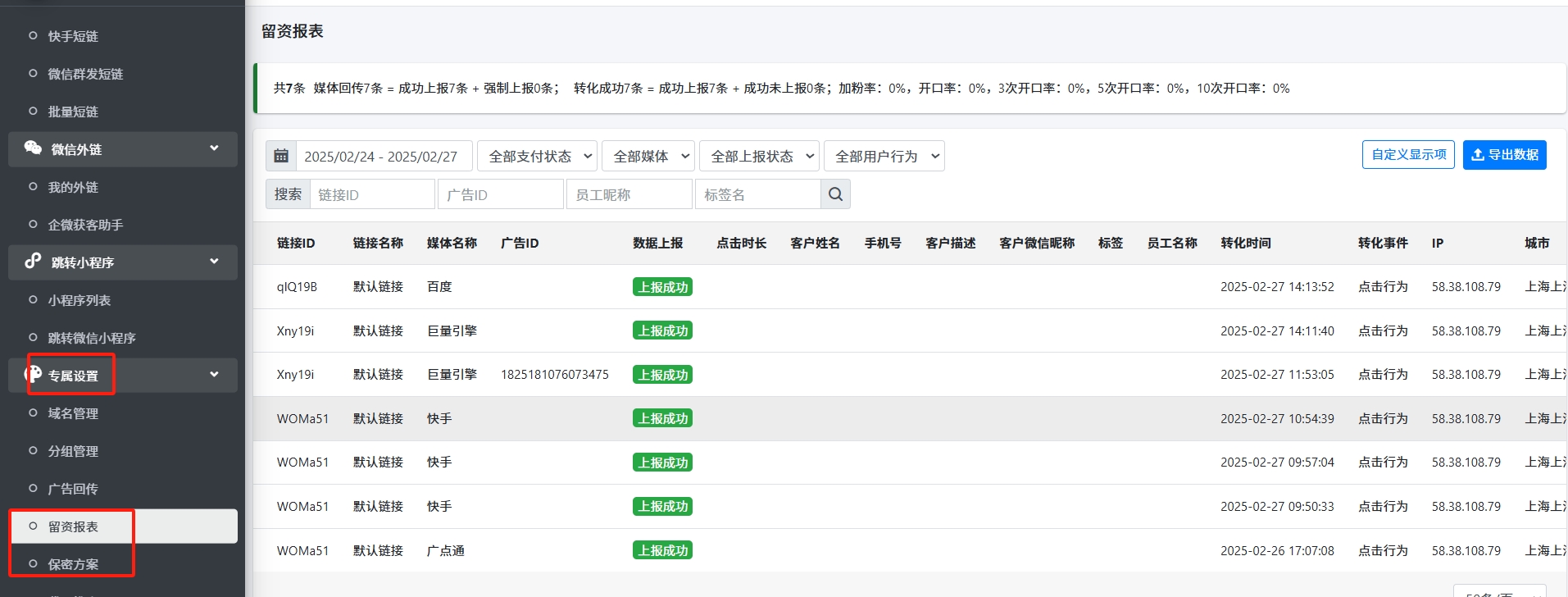
1.到管理后台,在【专属设置】-【留资报表】中可以查看广告投放的效果
2.留资报表字段说明
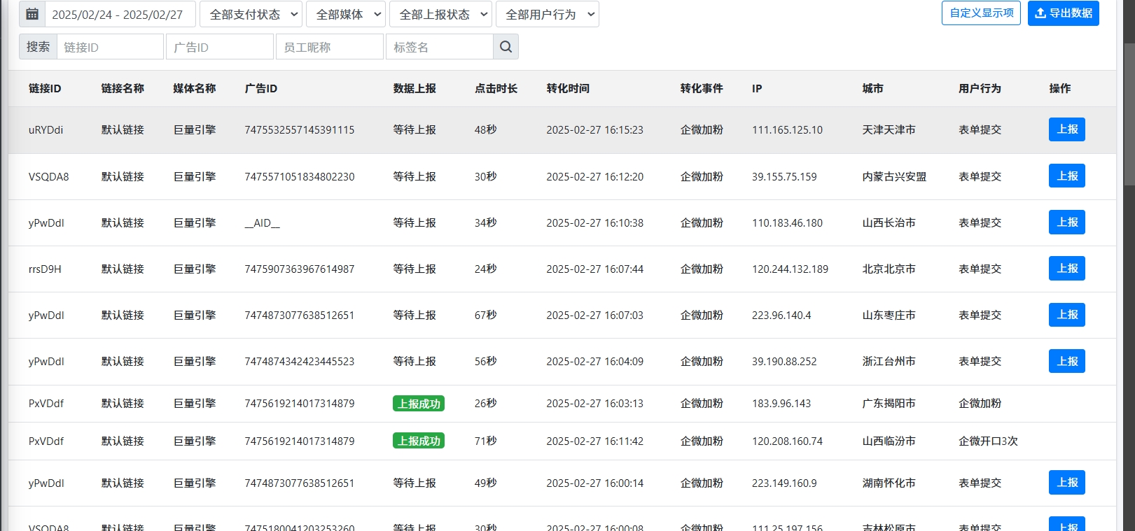
点击时长:用户打开落地页到点击落地页按钮的时间长度
转化事件:广告回传配置的用户触发回传的事件
用户行为:用户的最后操作行为
操作:可以手动回传某个广告点击,这样可以使广告迅速起量
3.企微服务商模式
服务商模式,可以获取到客户的微信昵称、贴加的员工、添加的标签信息等
服务商模式,需要向微信额外支付接口费用,一个员工号每年50元;如果需要可以联系客服开通该模式
点击时长:用户打开落地页到点击落地页按钮的时间长度
转化事件:广告回传配置的用户触发回传的事件
用户行为:用户的最后操作行为
操作:可以手动回传某个广告点击,这样可以使广告迅速起量
服务商模式,可以获取到客户的微信昵称、贴加的员工、添加的标签信息等
服务商模式,需要向微信额外支付接口费用,一个员工号每年50元;如果需要可以联系客服开通该模式